szerző: Zádor István sr. építész. szabadalom száma: P1900035
Budapest, 2019 november 10.
Bevezetés
Korunkban az elektronika ugrásszerű fejlődésének köszönhetően az információk már elképesztő sebességgel áramlanak a létrehozás pontjától a felhasználás helyére, azonban az elektronikus adatforgalom mellett a fizikai helyváltoztatást is hasonló gyorsasággal igényelnénk. Felgyorsult életvitelünknek köszönhetően egyre nagyobb szükségletként jelentkezik egy ajtótól ajtóig történő gyors szállítási rendszer megvalósítása. A jelenlegi közúti teherfuvarozás a felszíni közlekedésnek jelentős hányadát teszi ki,(1) de a hatékonyságát jelentősen rontja a közutak zsúfoltsága, és a rendszeres forgalomtorlódás. Az úthálózatok fejlesztési lehetősége a felszínen korlátozott, annak a felszín fölé emelése – mint azt a fantasztikus filmekben gyakran láthatjuk – egyelőre az antigravitáció ismerete nélkül megoldhatatlan, a magaspályák kivitelezése pedig költséges, annak látványa városképileg, és az épületek ablakaiból sem kifejezetten esztétikus.
Megállapítható, hogy a felszíni közlekedés fejlesztése a jelenlegi irányban nem folytatható, az a forgalom gyorsítását csak átmenetileg javítja, és a számtalan járulékos környezeti károkozás egyre nagyobb mértékével párosul. A városok túlzsúfolt útjai, szintbeli kereszteződései, a városközi forgalom többsávos, nagyobb sebességű rendszere a közúti balesetek kockázatának jelentős növekedésével is együtt jár.
Napjainkban a kutatás-fejlesztési irányok az egyre nagyobb és gyorsabb szállítóeszköz létrehozása felé mutatnak (3) két tranzitállomás között. Véleményem szerint ez hibás irányzat, mert a járművel hiába érkezek meg én, vagy a csomag A- helyről B-be villámgyorsan, ahhoz, hogy a célhoz jussunk, igénybe kell vennem még egy vagy több eszközt, átszállni, várakozni, sétálni (távoli parkolás) vagy átrakodni. Az áruszállítás a konténeres vagy a kombinált, kisebb szállítóeszközt nagyobb szállítóeszközre gurító rendszereknél is probléma, mert az árútömeget a célállomás közeli főállomáson vagy logisztikai központban szét kell válogatni kisebb egységekre cél-címek szerint, majd ismét szállító eszközre rakva eljuttatni a célig. (4) Ennek köszönhetően maradnak népszerűek a kisebb közúti szállítóeszközök, melyek esetenként meg is valósítják a kényelmes, közvetlenül ajtótól ajtóig történő szállítást. Megoldandó tehát, hogy a személy vagy csomag egyetlen szállító rendszer használatával az adott helyről közvetlenül a célállomásra jusson el biztonságosan, minél hamarabb, és minél kevesebb energia felhasználásával.
A szállítás föld alá süllyesztése a felszíni közlekedés túlzsúfoltságát tekintve kézenfekvő, a technikai fejlettségünk erre lehetőséget kínál, és nem utolsó sorban rengeteg előnnyel jár. Több nemzetközi szabadalom foglalkozik a szállítás föld alá süllyesztésével, (2) de egyszerű, és ajtótól ajtóig megvalósuló hatékony megoldás még nem született. Már történtek próbálkozások a föld alatti, kis keresztmetszetű közművek előregyártott elemes (tübbinges, csősajtolásos) alagútépítése mellett olyan berendezések kialakítására, melyek az alagútfúrással egybekapcsolva a csőszerű alagút köpenyfalát csúszózsaluzattal és besajtolt betonnal készítik el (presszbetonos eljárás), azonban a kis mélység és a betonköpeny erősítő vasalásának hiányában ezek nem terjedtek el. Csővezetéken általában folyadékokat és gázokat szállítanak egyik állomásról a másikra, a nagyobb távolságoknál alkalmanként közbeiktatott pumpaállomások segítségével. Régebben alkalmaztak hivatalokban csőposta rendszert, mellyel csak házon belül, egyik helyiségből a másikba továbbítottak gyorsan kapszulákba helyezett okmányokat, ami a digitális fejlődésnek köszönhetően már felesleges lett, de pl. anyagminták laborba történő, vagy bankjegyeket biztonságba helyező gyors szállításra jelenleg is használnak ilyen megoldásokat.
Egy ésszerű megoldás
Amennyiben egy új technológiával kialakított kis keresztmetszetű, kialakult telektömbökhöz illeszkedő alagút hálózat létesül, és ebben a beton köpenyes csőrendszerben levegő áramoltatással, folyamatosan egy irányban vezető nélküli kapszulák közlekednek, akkor egyszerre oldható meg a felszíni közlekedési terhelés drasztikus csökkentése és a gyors árú- és személyszállítás.
Az elképzelés tehát egy föld alatti szállító rendszer, ahol a szállítópálya egy 2,0m belső átmérőjű csőalagutakból álló, egymástól független, de átmeneti ággal összekapcsolt vízszintes útvonal-körök halmaza. Ezekben az alagút gyűrűkben állandóan, egyirányban folyamatosan áramoltatott levegővel mozgatunk a csőátmérőhöz igazodó rövid, légpárnásan lebegtetett önálló kis szállító kapszulákat. A kapszuláknak az útvonal-körök rendszeréből történő ki- és belépése a főcsőben folyamatosan fenntartott légáramlás sebességének megváltoztatása nélkül történik, az egyes kapszulák magasságváltoztatáson alapuló ki- és bejuttatásával, a főcsőbe ferdén csatlakozó kiágazási és becsatlakozási pályák segítségével. Ezek a ferde pályák a gravitáció kihasználásával idézik elő a kapszula lassulását a megálláshoz, és a gyorsulását a rendszerbe való visszalépéskor.
A csőhálózat több szintre oszlik. A felszínhez legközelebbi nulladik szintjén helyezkednek el az egyes útvonalkörök kapcsolatát biztosító, zsilippárokat tartalmazó átmeneti ágak, valamint az állomás mellékágak, ahol szintén zsilippárok helyezkednek el. Az egyes állomások minden kisebb épületcsoport súlypontjánál épülnének ki, szükség szerint egymástól akár 150-200m távolságra. A -1. szinten az első, kisebb sebességű, rövidebb útvonal-körök találhatók, melyek feladata az egymáshoz közeli állomások helyeinek összefűzése. Ezeket a köröket az alattuk futó hosszabb útvonal-körök kötik össze, átmeneti mellékágakon keresztüli kapcsolattal. (1. ábra) Az egyre mélyebben elhelyezkedő útvonal-körökben az áramoltatási sebesség egyre nagyobb, biztosítva ezzel a kisebb sebességi szintű útvonal-körökből az áttérést az egyre gyorsabb körökbe, a lehető leggyorsabb célállomásra érkezés eléréséhez. Az energiamegmaradás törvénye szerint súrlódási és egyéb veszteségeket nem számítva 50 km/h sebesség eléréséhez 9,65 méter magasságú süllyedés szükséges, 100 km/h sebesség eléréséhez pedig 39,3 méter.

Az elképzelés egyik előnye, hogy a felszíni közlekedéssel szemben nincs szintbeli kereszteződés, nem kell a forgalomhoz igazodva folyamatosan gyorsulni és lassulni, feleslegesen megállni. Az egy útvonal-körön belül egyforma az egymástól légdugókkal elválasztott kapszulák haladási sebessége, így kizárt az ütközés veszélye is. A felszín alatt megszűnik az időjárás forgalomra gyakorolt káros hatása, az állandó hőmérséklet miatt nincs szükség tágulási hézagokra, dilatációra, és a nagyobb kanyarodási sebességek esetében sem tud a lebegtetett kapszula letérni a pályáról, a kanyar íve és az önsúly függvényében automatikusan bebillen a megfelelő optimális dőlésszög eléréséhez. További nagy előny, hogy haladás közben a járműkapszuláknak nem kell leküzdeniük a légellenállást. (2. ábra)

A fő csőrendszerben nincs semmilyen mozgó alkatrész, azt nem kell a forgalom leállításával állandóan karban tartani, vagy javítani. Minden elromolni képes szerkezet az egyes kapszulákon van, amit független műszaki állomásokon lehet szervízelni. A működőképesség folyamatos monitorozása lehetővé teszi, hogy a vezérlő rendszer a meghibásodott kapszulát automatikusan kivonja a forgalomból. Az állomásokon és az átmeneti mellékágakon kialakított zsilipek működési anomáliáit szintén a fő csőrendszerben áramló forgalom zavarása nélkül lehet orvosolni.
A föld alatti csőpályarendszer tetszőlegesen bővíthető, könnyen hozzákapcsolható a már meglévő rendszerekhez az egyes útpálya szintek közötti két átmeneti (ki- és be-) kapcsolódási pont kialakítsával.
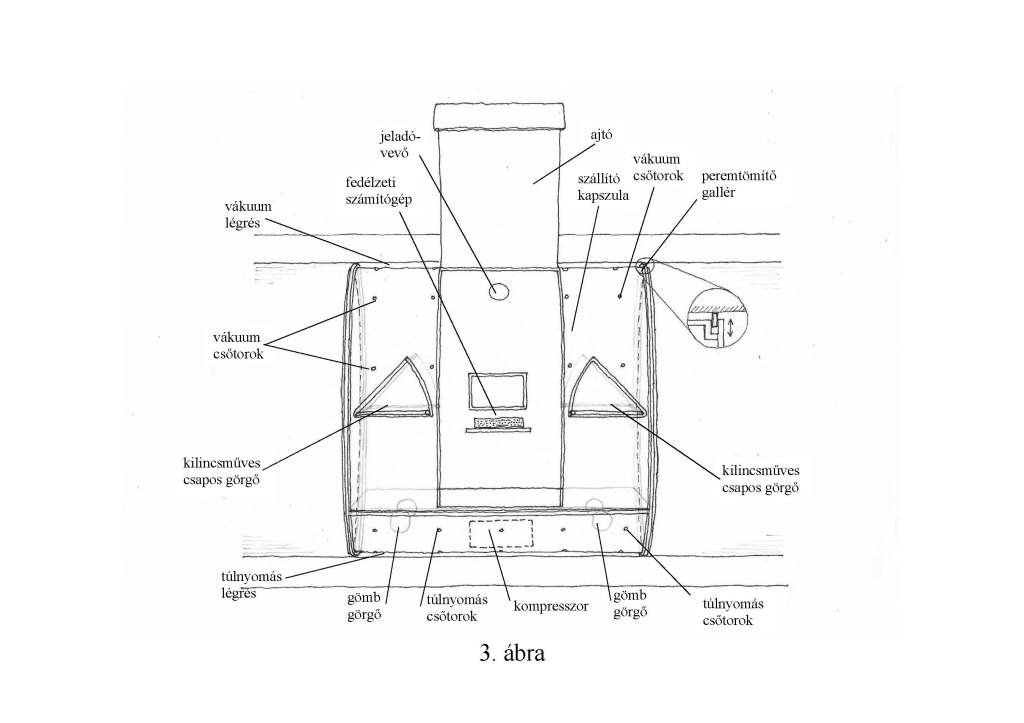
A rendszer elemei A kapszula kialakítása könnyű (pl. üvegszál erősített műgyanta laminálású), szigetelt szendvics héjszerkezettel, kör keresztmetszettel, és egyenes síkú, csőirányra merőleges véglezárásokkal van megoldva, a végoldalak peremén gumi tömítő gallérokkal, hogy a kapszula és a cső közötti résen minél kevesebb levegő tudjon átszivárogni. A légpárnás üzemet a kapszula saját kompresszora üzemelteti, a felső palást felőli elszívással és a kapszula alsó palástja felé befúvással, így csökkentve a súrlódást és biztosítva a csőbeli légáramlattal azonos haladási sebességet. A szívott és nyomott palástmenti légréstek közötti határoló tömítés kialakítása biztosítja, hogy a lebegtető nyomások csak a kapszula palástja körül hassanak, és ne a főáramlás légterébe keveredjenek. Persze ezen rendszer is meghibásodhat, így szükséges a kapszulák minden irányban gördülni képes kerekekkel való felszerelése is, ami a parkolási (javítási) mozgatásokhoz is szükséges és alkalmas. (3. ábra)

A csőhálózatból való felfelé kilépés és lefelé visszacsatlakozás a ki- és becsatlakozási pályaszakasz oldalfalában kialakított fix ferde horonypár, és a kapszula oldalából kitolható kilincsműves csapos görgőpárok illeszkedésével történik. A vezérléssel a megfelelő útvonal-helyen létrehozott kapcsolással a görgőpárok beülnek a fix ferde oldalhoronyba, ezáltal a kapszulát kiemelik az átmeneti vagy állomás mellékágba, illetve bevezetik a kívánt útvonalkörbe, a gravitáció kihasználásával a mozgást lassítva vagy gyorsítva. A ferde szakaszokban a kilincsmű első vagy hátsó párjának szögelfordulása biztosítja a kapszula vízszintesben tartását. (4. ábra)

Az átmeneti- és állomás- mellékágakban elhelyezett zsilippárok érkezési oldala biztosítja a már lelassult kapszula fogadását a maradék lendület légpárnás felfogásával a teljes megálláshoz és a zsilipajtók zárásához. Az állomásokon ekkor nyílik a kapszula ajtóval összekapcsolt állomásajtó a kiszálláshoz vagy kirakodáshoz. Ezt követően a kapszula a zsilippár indulási oldalára gurul át, és várja a következő utast vagy szállítmányt, miközben akkumulátorát a töltőre kapcsolja. Az állomásról a kapszula utas vagy szállítmány nélkül is elindul üresen, ha az érkezési oldalra újabb kapszula érkezik. Az útvonal-körbe visszacsatlakozás az indulási zsilipajtó nyitásával és az érkezéskor felfogott megállító légpárna süritett levegőjének felhasználásával történik. (5. ábra)

Az állandó sebességű légáramoltatást az útvonalkörökben adott szakaszonként kiépített, ventilátor mellékágakban elhelyezett ellenforgó ventilátorpárokkal kell megoldani úgy, hogy a főágban a levegő visszaáramlásának megakadályozását a csőpályába keresztirányú, nagy sebességű levegő áramoltatásával előállított légzsilip kapu biztosítja. Kapszula érkezésekor a ventilátor lapátjainak átállításával az áramoltatás ideiglenesen felfüggesztésre kerül, a főágban a légzsilip kapu a kompresszor-kör ideiglenes rövidre zárásával megszűnik, és a kapszula akadálytalanul áthaladhat a szakaszon. Az áthaladás idejére az átállított ventilátor működik légzsilipként. A ventilátor mellékág feletti gépházban kap helyet a ventilátor forgató motor és a lapátszög-állító mechanizmus, valamink a légzsilip kapu működtető kompresszor és a megfelelően összehangolt vezérlésüket biztosító elektronika. (6. ábra) Az egyes útvonalkörökben szükséges állandó sebességű légáramoltatás fenntartására fordított elektromos energia kiegészíthető környezetbarát energiatermelőkkel, pl. napelemekkel, vagy szélerőművekkel.

A csőkapszulás közlekedés vezérléséhez az állomásoknál és az átmeneti, valamint ventilátor mellékágaknál fix, valamint a kapszulákba épített mozgó jeladó-vevők vannak elhelyezve. Az általuk sugárzott információk alapján összeállított forgalmi adatok kezeléséhez egy hálózat foglaltsági adatokat folyamatosan aktualizáló és azt a hálózatba visszatápláló szoftver szükséges. A célállomást az indulási helyen betáplálva a kapszula saját számítógépe tervezi meg az útvonalat a rendszer által sugárzott aktuális foglaltsági adatok felhasználásával. Így juttatja el a kapszulát a fedélzeti számítógép automatikusan a célállomásig. Az egyes kapszulák ki- és becsatlakozásait az állomásokon és átmeneti zsilipeknél lévő jeladó-vevők határozzák meg, figyelve az adott szakasz forgalmát, biztosítva ezzel a főközlekedési pályaforgalom zavartalanságát.
A nagy haladási sebesség elérésének egyik akadálya a pálya-hullámosság. Esetünkben a pályaépítés geometriájának nagy pontosságúnak kell lennie főleg a nagyobb sebességű útvonal-körökben, azonban a kapszula lebegtetésével a pálya belső falához folyamatosan illeszkedő tömítéseknek köszönhetően ennek káros hatása mérsékelhető.
A csőrendszert vakond-rendszerű alagútfúróval, és a hozzá kapcsolt vízzáró monolit vasbeton, belső felületén kéregerősített csőhéj készítő vasszerelő és betonozó csúszózsalus technológiai gépsorral lehetséges kialakítani. (5) Bár a változó geológiai viszonyok a szükséges fúrópajzs jellegét jelentősen változtatják, a pajzsok körülményes cseréjét azok többfunkciós vagy helyben változtatható kialakítása megoldhatja. A helyszínen zsaluzatba öntött – injektált vasbeton héj szerkezetnek a terhelhetőséghez és a zsaluzat továbbhaladásához szükséges kötési – szilárdulási idő igénye a fúrási sebességgel szinkronizálható, a problémát csak a váratlan leállások miatt keletkező munkahézagok zárása jelentheti. Mindezek mellett azonban az előregyártott tübbinges palástépítési technológia hátoldali körülinjektálását ez a technológia feleslegessé teszi, ráadásul a földtani környezetre, valamint a felszíni létesítményekre gyakorolt zavaró hatása is sokkal kisebb. A kis csőátmérő miatt az előregyártott elemek beszállítása és beépítése is lényegesen nehezebb volna. Ebben a folyamatosan betonozott rendszerben nincs szükség vízzáró munkahézag-szalagokra, illesztések ragasztására, kikenésekre, a belső kéregerősített felület a gépsor elhaladtával rögtön használatra alkalmas járatot biztosít. A kis átmérős fúrópajzs és a hozzá kapcsolt géplánc folyamatos használata a megvalósítás gazdaságosságát jelentősen javítja. Felhasználható az építéshez az alagútfúrásnál kinyert kavicsos homok, vagy kőzetőrlemény is, az adalékanyag osztályozásával és a betontechnológiát ehhez igazító betonlabor-automatikával folyamatosan figyelemmel kísérve. Ebben az esetben a kiszállítandó furatanyag is sokkal kevesebb. A csőpálya alagút optimális, hullámzásmentes geometriájának kialakítását a modern geodéta mérési rendszerekkel irányított fúrások biztosítani tudják, így az a megfelelően kialakított tárgyi légpárnás rendszerrel alkalmas lehet a pályamélységgel arányosan sokkal nagyobb sebességek elérésére is.
A föld alatti vájatokat a bányászatból ismert kőzet nyomás miatti járat összenyomódás is sújtja, de a megfelelő csőköpeny méretezéssel ez sem jelent veszélyt a mélyebben vezetett csőjáratokra. A csőrendszer ’ellensége’ csak a földkéreg egyes lemezei mentén kialakuló tektonikus mozgás, ami talajvíz betörését is okozhatja. Ezt a pályarendszer folyamatos alakváltozás-ellenőrzésével figyelve, szükség esetén újabb elkerülő csőszakaszok kiépítésével kompenzálni kell. A nagytávolságú csőkapszula rendszer folyók, tengerek alatt is vezethető, korlátok nélkül, mivel ott vízzáró, és nagyobb földnyomásra méretezett csőköpennyel is készülhet.
A mélységgel arányosan a kőzetek hőmérséklete is nagyobb, így elképzelhető, hogy a mélyebben elhelyezkedő csőrendszerek melegebbek lesznek, és ott a levegő hűtése válhat szükségessé. Ebben az esetben az egyes ventilátor-állomások légcserével frisslevegőt fújhatnak be a rendszerbe, a feleslegessé váló meleg levegő hőjét pedig hőcserélőn keresztül felfogva és közvetítve pl. felszíni épületegységek fűtésére vagy használati melegvíz előállítására is lehet hasznosítani.
A föld alatti nyomvonal szabadon vezethető, nem kell a tervezett közúti vagy vasúti pályákat érintő földterületeket kisajátítani. Az építés során felfedett geológiai információkat, esetleg ásványkincseket hasznosítani lehet.
A legfelső csőpálya-szint (-4 és -6m között) a közművek és mélygarázsok (feltéve, hogy szükségesek még) szintje alatt fut, azokat nem befolyásolva. Egyedüli ütközési pont lehet a mélyebben fekvő metróvonalak alagútja, és mélyállomásai, de optimális nyomvonal tervezéssel ez is elkerülhető. A csőkapszulás közlekedés elterjedésével a metróhasználat (és a közösségi közlekedés teljes keresztmetszete is) valószínűleg háttérbe szorul. Egy városi közösségi közlekedés fenntartásához szükséges erőforrások összessége (járművezetők, üzemanyag, kötött pályák és forgalomirányítás fenntartása, stb.) messzemenően meghaladja a vázolt rendszerét.
A kis kapszulák korlátozzák ugyan a nagyobb méretű tárgyak szállítását, de ipari tevékenységhez, pl. építkezéshez (zsalutáblák, betonacél, beton, nyílászárók, lakatos szerkezetek, állványok, stb.), vagy gyártott nagyméretű berendezésekhez (technológiai gépek, tartályok, stb.) a felszíni szállítás szükségszerűen megmaradna, azonban ez csak a főútvonalakra korlátozódna, vagy a távolság és terepviszony szerint választott egyéb (pl. légi) szállítási módra állna át. Szükséges az ’utazási élményt’ biztosító hagyományos útrendszer meghagyása is, mert az általam vázolt csőkapszulák elsősorban a hétköznapi áruszállítási igényt elégítené ki, így csökkentve jelentősen a városi és távolsági utak forgalmát. A csőkapszulás közlekedés csak szükség szerint szolgálná az emberek gyors helyváltoztatását, és az így ritkított közúti forgalomnak köszönhetően a felszíni utazás valóban élmény maradna, nem pedig idegesítő vagy unalmas várakozások sorozata. Mindkét rendszer fenntartása a költségtakarékosság ellen szól, azonban az áruszállítás föld alá süllyesztése a felszíni közlekedés zsúfoltságát és károsanyag kibocsátását hatalmas mértékben csökkentené.
Az utazás élménye a föld alá kerülve teljesen megszűnik, de ennek a rendszernek a választása csak a gyorsaság érdekében történne, mint a metróban. Számításba kell venni azt is, hogy a jelenlegi fejlesztések fókuszában álló felszíni gyors járművekben az utazás már nem olyan kellemes élmény. A gyors jármű ablakában sebesen villódzó képek sorozata, az ablak előtt elszáguldó tereptárgyak és a szinte állónak látszó távoli környezet együttes látványa zavaró. Az érezhetően nagy sebesség ijesztő mértéke már az utazási élményt sokszor károsan befolyásolja. Ennek következtében lehetséges, hogy a felszín alatti ablaktalan kapszulás utazás sokkal kedveltebb eszköz lehet a gyors, ajtótól ajtóig megvalósuló távolsági helyváltoztatásokhoz. Az utazás kellemessebbé tételéhez mesterséges panoráma vetítései es lehetséges.
Amennyiben a rendszert nagytávolságú személyszállításra is alkalmassá szeretnénk tenni, úgy a levegőt, élelmet, és más komfortot is biztosítani kell számukra. Az összezártság miatt szükségszerűen csak kisebb társaságok tudnának együtt utazni, azonban az utazási idő jelentős lerövidítése ezt is kárpótolhatja.
A rendszer működését továbbgondolva felvetődik pl. az utasok és csomagok vizsgálatának, illetéktelen használat megakadályozásának szükségessége is. Ezt az induló állomáson egy erre hivatott személyazonosító biztonsági rendszerrel ellenőrizve ki lehet szűrni, nemzetközi forgalomban annak ellenőrzéséhez a határokon állomásokat lehet beiktatni.
Felmerül sajnos a terrorcselekmények elleni védelem fontossága is, mert ha egy kapszulát felrobbantanak, akkor a rendszer az adott különálló körön összeomlik, és a benne rekedtek kimentése annak lineáris megközelíthetősége miatt nehéz. Ennek kiküszöbölése és kezelése további vizsgálatok tárgya, de nem megoldhatatlan probléma.
Összegzés
1. Környezetvédelem: A jelenlegi felszíni közlekedés zsúfoltsága, és egyre nagyobb károsanyag-kibocsátása, számos kedvezőtlen környezeti hatása szükségszerűvé teszik egy megfelelő alternatív megoldás kialakítását. A szállítás föld alá süllyesztésével a felszíni közlekedés jelentős mértékben tehermentesülne, emellett annak káros hatásai is jelentősen csökkennének. A közösségi közlekedés föld alá süllyesztését már elkezdték megvalósítani a metróépítés terjedésével. Ha az emberek hajlandók a gyors helyváltoztatás érdekében a föld alá menni, valószínüleg megtennék ezt a közvetlen ajtótól ajtóig történő szállítási módnál is. Ebben az esetben a felszíni közösségi közlekedés felszámolható, Ez az irány az élhető felszín biztosításához alkalmas lehet. A tisztább levegő, a kevesebb zaj, a csökkenő forgalmi stresszhatások következtében közérzetünk javul.
2. Zöld energia: A kimerülő foszilis energiaforrások is kényszerűen előrevetítik a szállító járművek meghajtásához szükséges energia környezetbarát előállítását és felhasználását. Az olajéhség megszüntetésére alternatív energiaforrások már rendelkezésre állnak, és a vázolt föld alatti csőkapszulás szállításhoz szükséges levegőáramoltatást ezen energiatermelés segítségével környezetkímélően és gazdaságosan meg lehet oldani. A folyamatos, egyenletes sebességű mozgatáshoz sokkal kevesebb energia szükséges, mint a rendszeresen ismétlődő gyorsításhoz és lassításhoz. A vázolt rendszerben a feltétlenül szükséges sebességváltoztatás az ingyen és mindenhol rendelkezésre álló gravitáció segítségével van megoldva, az üzemelés gazdaságossága így biztosított. Nem utolsó sorban az elképzelt kialakításnál a légellenállás leküzdésére sincs szükség, és ehhez nem kell vákumot bizstosítani a csőben komplikált szelepekkel és zsilipeléssel, és a költséges mágneses lebegtetési pálya kiépítésére sincs szükség, mert a kapszula saját légpárnás lebegtetéssel csökkenti a gördülési ellenállását.
3. Ajtótól ajtóig: A szállítás mai fejlesztései a tranzitállomások létrehozására, és az ezen állomások közötti egyre nagyobb kapacitású és egyre gyorsabb járművek kialakítására korlátozódnak. A tranzitállomások közötti gyors haladás azonban nem csökkenti jelentősen az ajtótól ajtóig számított teljes időt, mivel a többszöri átrakodással, várakozással, a tranzitállomásokra és onnan a célba érkezés lassúságával a szükséges idő megnövekszik. Ha a vázolt rendszer útvonalköreinek mélységgel arányos sebességnövekedése nem is éri el egy ultragyors jármű csúcssebességét, a közvetlenül ajtótól ajtóig történő, átrakodás vagy várakozás nélküli szállítás ideje sokkal kedvezőbb lehet.
4. Balesetmentesség: A felszíni közlekedés balesetmentessége sem megoldott. A közúti forgalom mellett a vasúti, vizi, vagy légi szállításnál is előfordulnak emberi életet követelő balesetek. Baleseti statisztikákban sajnos igen előkelő helyen áll a halálos kimenetelű közlekedési balesetek áldozatainak száma. (6) Az itt vázolt szállítási rendszernél az emberi mulasztásból származó balesetek előfordulása kizárt, mivel az egyes különálló útvonal körökben mozgó kapszulák haladási sebessége azonos, közöttük légdugó szerű légpárna alakul ki, a haladást nem a kapszula maga, hanem egy attól független levegő mozgató rendszer biztosítja. A csőalagút renszerben a haladást szolgáló csőpályákban nincs mozgó alkatrész, vagy elektromos berendezés, ami meghibásodásra hajlamos. A szerkezetek minden esetben a csőpályákon kívüli mellékágakban vannak elhelyezve, így az esetleges hibákat a forgalom akadályozása nélkül lehet kijavítani.
5. Takarékosság: Gazdasági szempontból a forgalmi torlódások, dugók jelentős termelés kiesést, pénzben mérhető késedelmi károkat okozhatnak a piac szereplőinek. Ezeket a károkat egy kiszámítható, percekre ütemezett áruszállítással teljesen ki lehet zárni, és ennek köszönhetően felmerülhet a gazdaságtalan valamint hely- és mozgatásigényes raktározás szükségességének kérdése is. Az energia és az eszközök megtakarításán túl a szállításban foglalkoztatott jelentős dolgozói létszám is felszabadul, hiszen a kapszulás közlekedés irányítását számítógépes felügyeleti rendszer végzi, az emberi mulasztások teljes kiküszöbölésével.
6. Gyorsaság: A pozitív gazdasági hatásai mellett a gyors és közvetlen áruszállítás a romlandó élelmiszerek, növényi termékek mielőbbi célba juttatásához is elengedhetetlen. A segítségnyújtás gyors helyszínre érkezése is javítaná biztonságérzetünket. Mindezen túl pl. a nemzetközi segélyszervezetek munkája is sokkal hatékonyabb lehet a vázolt kapszulás szállítási rendszer használatával. Ugyanígy az egyre terjedő e-kereskedelemben is jelentősen lecsökkenthető az áruszállítási idő, megvalósul az azonnali házhoz szállítás, a vásárlók nem kis megelégedésére.
7. Időjárásfüggetlenség: Meg kell említeni a felszíni közlekedés időjárástól függőségének problémáját is. Nem kis gondot okoz az utak és útpályák biztonságos közlekedésre alkalmasságának biztosítása a folyamatos szállítás fennakadás-mentességéhez. A szállítás föld alá süllyesztésével kiküszöbölhető a szélsőséges hőmérsékletek, a különböző csapadékok, az erős légmozgások, a kápráztató napsütés és még számos egyéb káros hatás is.
Az előzőekben vázolt föld alatti szállítási rendszer kiépítése kezdetben nagy tőkeigényű, de gyorsan megtérülő, és olcsó üzemeltetésű beruházás, melynek finanszírozása állami feladat lehetne. A csőkapszulás szállítási rendszernek lényegében egy sofőr nélküli taxiszolgálat, melynek alacsony térítési díja hamar közkedveltté tenné használatát. Napjainkban tehát a technika fejlettsége lehetővé teszi, hogy olyan közlekedési rendszert építsünk, amely egyszerre csökkentené drasztikusan a közlekedés környezetterhelését, költségét és erőforrásigényét, miközben nagymértékben növelné az áruk és személyek biztonságos és gyors, ajtótól ajtóig történő szállítását, ezen keresztül a hatékonyságot.